Патенты
- Янв- 2026 -16 января
Samsung запатентовала первый в мире вертикально раскручивающийся смартфон
Samsung вновь заглядывает в будущее мобильных технологий, на этот раз делая ставку на вертикальный ролл-экран. В новом патенте компании демонстрируется…
- 16 января
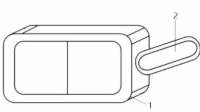
Samsung запатентовала складываемое на 360 градусов устройство
Компания Samsung зарегистрировала патент, в котором описала устройство, которое способно складываться на 360 градусов. Указанная конструкция устраняет необходимость во внешнем…
- Дек- 2025 -14 декабря
Apple запатентовала складные часы Apple Watch
Компания Apple в своем новом патенте описала носимое на руке устройство, экран которого может увеличиваться. Экран можно складывать для удобства…
- 14 декабря
Sony запатентовала игровой контроллер с функцией зарядки от света
Компания Sony зарегистрировала новый патент, в котором описала зарядку контроллера PlayStation от света. По задумке, в контроллерах планируется использовать фотоэлектрические…
- 13 декабря
Samsung получила патент на легкие AR/XR-очки с коррекцией зрения
Компания Samsung, судя по всему, хочет добиться серьезных успехов в области виртуальной и дополненной реальности. Техногигант зарегистрировал патенты на умные…
- 13 декабря
Samsung планирует использовать технологию UWB в наушниках
Компания Samsung изучает способы добавления технологии UWB (ультраширокополосной связи) в свои наушники, что подтверждается недавно опубликованной патентной заявкой, поданной в…
- 11 декабря
Huawei запатентовала 3D-датчик отпечатков пальцев для смарт-часов
Huawei, возможно, работает над новой технологией, которая может изменить способ взаимодействия с будущими умными часами компании. Недавно появилась информация о…
- 11 декабря
Apple стала на шаг ближе к выпуску устройства со складной конструкцией
За последние годы Apple получила несколько патентов на дизайн складных устройств, однако компания до сих пор не выпустила ни одного…
- 11 декабря
Смартфоны как геймпады и экраны — инновация от Nintendo
Судя по многочисленным слухам, в январе компания Nintendo представит свою новую консоль. Производитель уже подтвердил официально, что устройство будет поддерживать…
- 11 декабря
Samsung запатентовала смартфон, складываемый в трех местах
Проект Samsung по созданию смартфона, складываемого в трех местах, сделал значительный шаг вперед с недавним утверждением патента. Патент подан в…