- Июл- 2022 -2 июляПК и ноутбуки
LG представила игровые мониторы UltraGear с частотой обновления до 260 Гц
Компания LG Electronics выпустила новую линейку игровых мониторов UltraGear с частотой обновления до 260 Гц и технологией поляризатора ATW, которая…
- 2 июляКомпании
Apple заняла третье место по доходам от игр, опередив Microsoft и Nintendo
Издание NewZoo опубликовало рейтинг компаний игровой индустрии с точки зрения доходов. Интересно, что Apple удалось занять третье место, обойдя ряд…
- 2 июляКомпании
Samsung прекратит производство LCD-дисплеев на шесть месяцев раньше запланированного срока
Компания Samsung Display прекратит производство LCD-дисплеев в конце июня, на целых шесть месяцев раньше ранее объявленного графика. Инсайдеры отрасли сообщили,…
- 2 июляПатенты
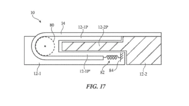
Apple запатентовала краевую подсветку для своих будущих устройств
Компания Apple зарегистрировала в Бюро по патентам и товарным знакам США новый патент. В документах описывается несколько мобильных устройств, имеющих…
- 2 июляПатенты
Oppo запатентовала дизайны смартфонов с задним дисплеем
Компания Oppo не так давно получила патент на смартфон с камерой под дисплеем, а теперь стало известно о патенте еще…
- 2 июляРазное
На аукционе за 14.4 млн евро продана самая дорогая в мире камера Leica 0
11 июня состоялся 40-ой аукцион Leitz Camera Auction, который ознаменовался продажей самой дорогой камеры в мире. В рамках аукциона с…
- 2 июляНосимые устройства
Huawei представила беспроводные TWS-наушники FreeBuds SE с поддержкой Bluetooth 5.2
Компания Huawei выпустила новые беспроводные наушники за пределами Китая, которые получили название Huawei FreeBuds SE. Huawei FreeBuds SE имеют классический…
- 2 июляНосимые устройства
Представлены беспроводные TWS-наушники Meizu Blus Air с 25 часами автономной работы
Пару лет назад компания Meizu входила в десятку лучших производителей смартфонов, но это уже история. В настоящее время она стремится…
- 2 июляСмартфоны
Бюджетный смартфон Redmi 10 Prime+ 5G протестировали в GeekBench
Xiaomi, по-видимому, планирует в ближайшее время выпустить новый бюджетный смартфон под названием Redmi 10 Prime+ 5G. Потенциальная новинка уже побывала…
- 2 июляСмартфоны
Стали известны подробные характеристики смартфона Xiaomi 12T
Компания Xiaomi работает над новым смартфоном 12-й серии, который получит название Xiaomi 12T. Перед его официальным анонсом известный инсайдер Мукул…